Kenmore Electric Range 9119352190 Timer Repair

What is the timer/clock part number for the Kenmore 9119352190 Electric Range?

Timer part number WB27K5137R for Kenmore 9119352190

The 9119352190 Electric Range uses timer part number WB27K5137R.

Do you have a failed Kenmore 9119352190 control panel? Click here:

Request Appliance Timer Service

We can repair or replace your faulty Kenmore 9119352190 timer.

9119352190 are also sometimes referred to using these Alternative Names/Model numbers

Sears 9119352190 Electric Range

9119352190 Schematic and Wiring Diagrams

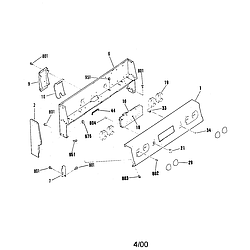
Backguard Parts diagram
9119352190 Electric Range Backguard Parts diagram
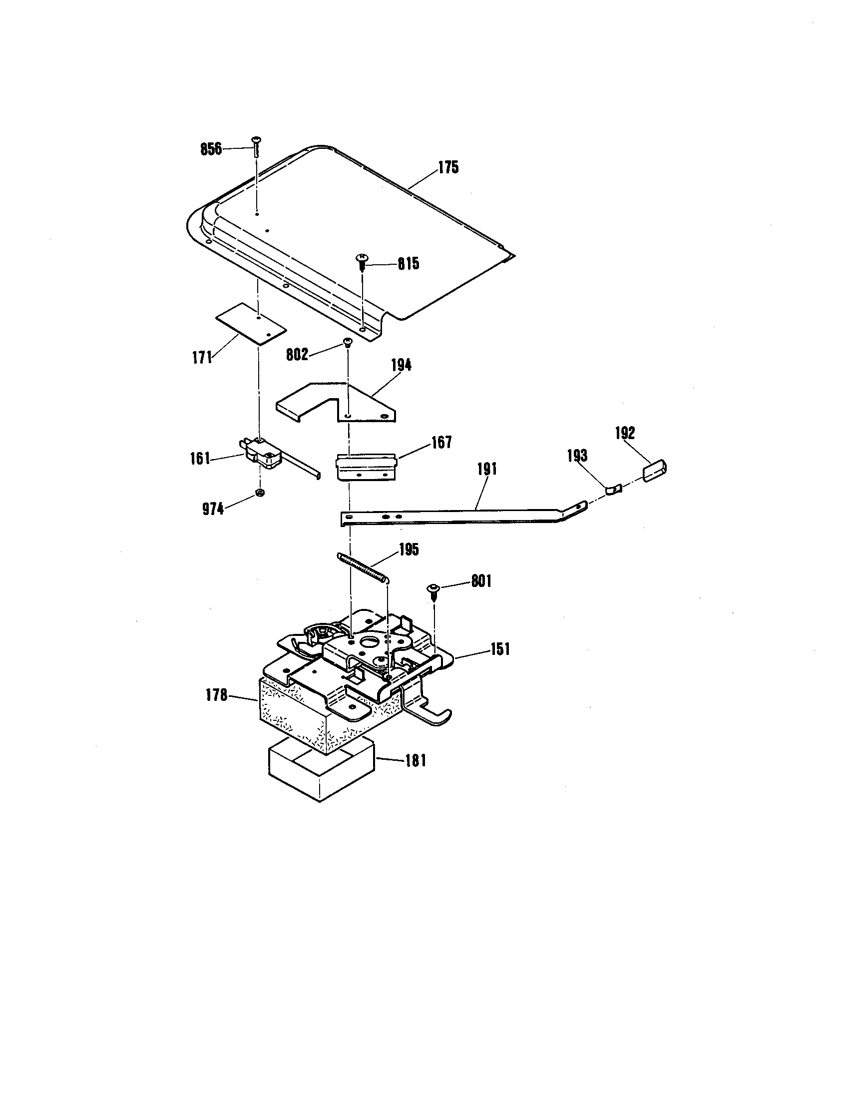
Door lock Parts diagram
9119352190 Electric Range Door lock Parts diagram
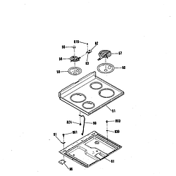
Maintop Parts diagram
9119352190 Electric Range Maintop Parts diagram
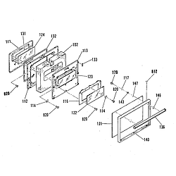
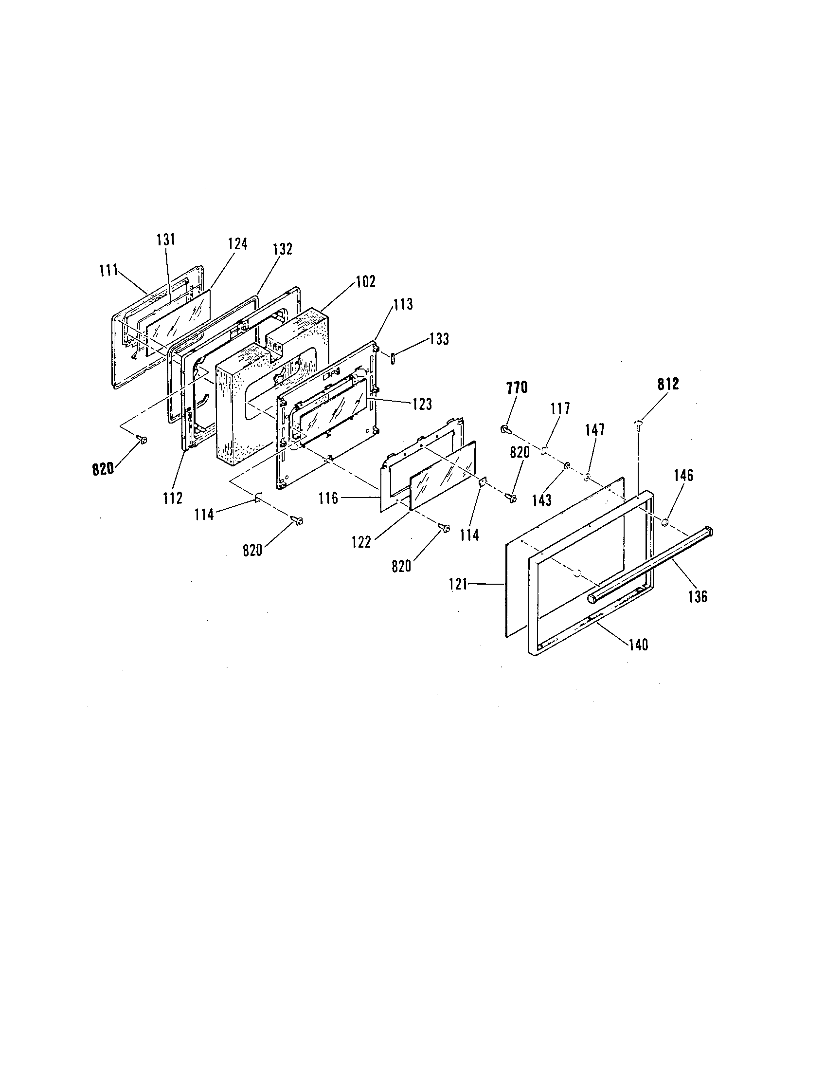
Oven door Parts diagram
9119352190 Electric Range Oven door Parts diagram
Body Parts diagram
9119352190 Electric Range Body Parts diagram
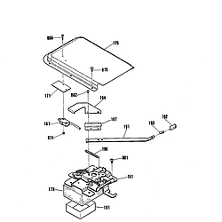
Wire harnesses and components Parts diagram
9119352190 Electric Range Wire harnesses and components Parts diagram