Kenmore Electric Built-In Oven 9114742593 Timer Repair

What is the timer/clock part number for the Kenmore 9114742593 Electric Built-In Oven?

Timer part number wb27k5115 for Kenmore 9114742593

The 9114742593 Electric Built-In Oven uses timer part number wb27k5115.

Do you have a failed Kenmore 9114742593 control panel? Click here:

Request Appliance Timer Service

We can repair or replace your faulty Kenmore 9114742593 timer.

9114742593 are also sometimes referred to using these Alternative Names/Model numbers

Sears 9114742593 Electric Built-In Oven

9114742593 Schematic and Wiring Diagrams

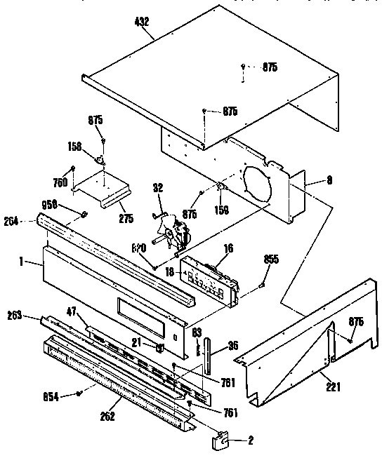
Control panel section Parts diagram
9114742593 Electric Built-In Oven Control panel section Parts diagram
Door lock section Parts diagram
9114742593 Electric Built-In Oven Door lock section Parts diagram
Oven door Parts diagram
9114742593 Electric Built-In Oven Oven door Parts diagram
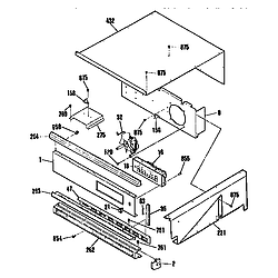
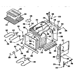
Body section Parts diagram
9114742593 Electric Built-In Oven Body section Parts diagram
Wire harness and components Parts diagram
9114742593 Electric Built-In Oven Wire harness and components Parts diagram

Recent Service Requests

CityProblem DescriptionResolution
Elm Grove, LouisianaStove/oven will power up then start beeping and displaying code F-1Beyond Repair

Common problems for Kenmore Electric Built-In Oven 9114742593 Timer Repair

Are you encountering a similar problem as them? Contact us now and we will try to help you fix your 9114742593 timer-related problem.
My oven completely works, (the oven, range, and clock). However, if the oven is not on it beeps every 2-3 seconds and flashes an F1 error. By looking at this website the part costs $178.94 to replace the clock/oven control. Most of the other posts I have read something did not work with the range. Is this the part I need since mine works & if so how difficult is it to change it out? Kim
I have a Sears 9114554590 30" ELECTRONIC DROP-IN oven and recently the oven has stopped working completely. When you pust any of the buttons on the control panel to activate the oven, the control panel starts to flash and will continue until you let up on the button. The burners on the range top all work and the clock and clock work on the control panel. Any help you can be would be much appreciated.