Kenmore Convection Built-In Oven 9114703990 Timer Repair

What is the timer/clock part number for the Kenmore 9114703990 Convection Built-In Oven?

Timer part number WB27K5046 for Kenmore 9114703990

The 9114703990 Convection Built-In Oven uses timer part number WB27K5046.

Do you have a failed Kenmore 9114703990 control panel? Click here:

Request Appliance Timer Service

We can repair or replace your faulty Kenmore 9114703990 timer.

9114703990 are also sometimes referred to using these Alternative Names/Model numbers

Sears 9114703990 Convection Built-In Oven

9114703990 Schematic and Wiring Diagrams

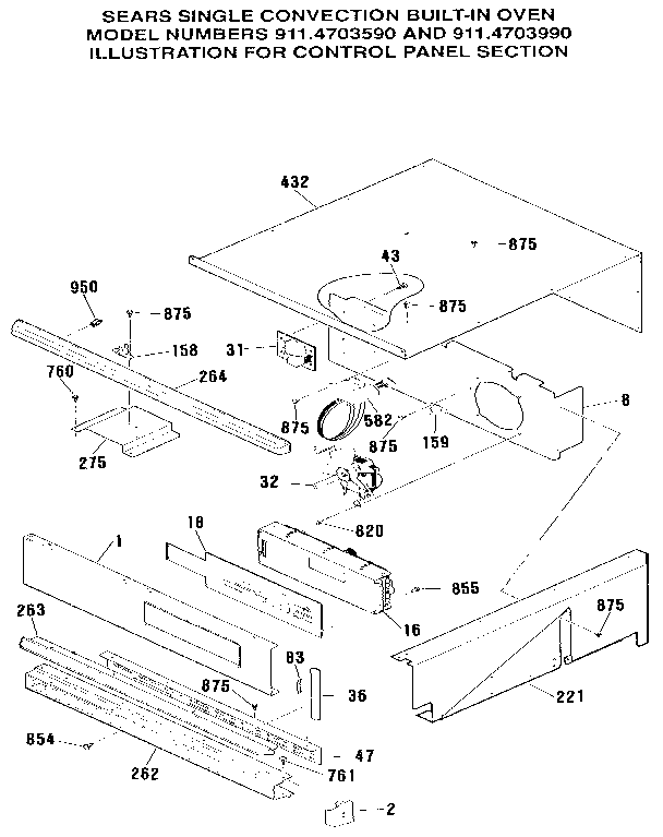
Control panel section Parts diagram
9114703990 Convection Built-In Oven Control panel section Parts diagram
Door lock section Parts diagram
9114703990 Convection Built-In Oven Door lock section Parts diagram
Body section Parts diagram
9114703990 Convection Built-In Oven Body section Parts diagram
Wire harnesses Parts diagram
9114703990 Convection Built-In Oven Wire harnesses Parts diagram
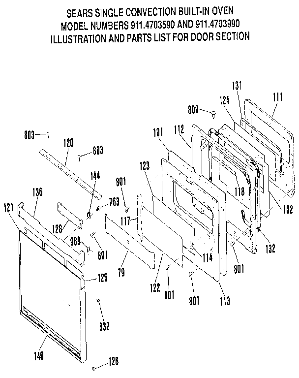
Door section Parts diagram
9114703990 Convection Built-In Oven Door section Parts diagram
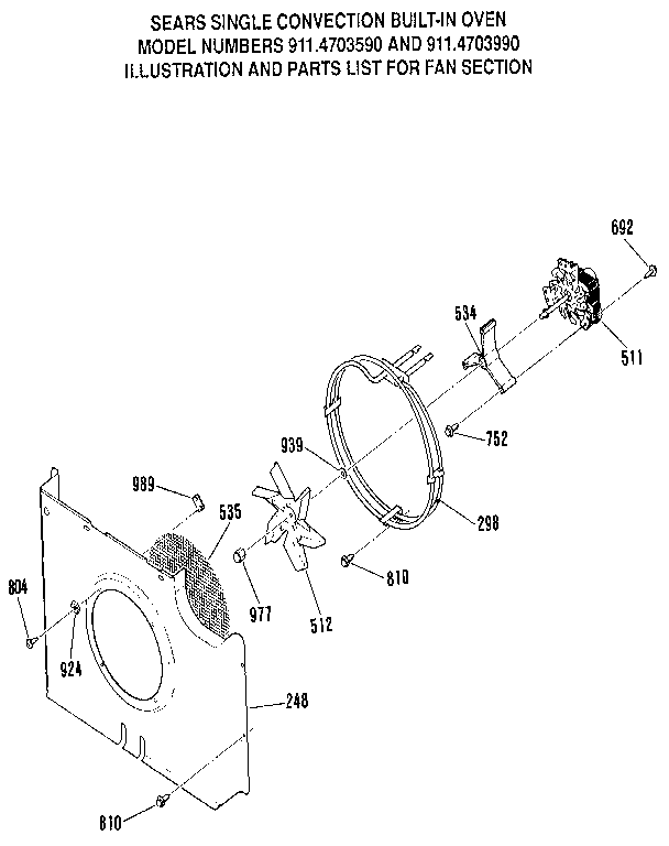
Fan section Parts diagram
9114703990 Convection Built-In Oven Fan section Parts diagram

Recent Service Requests

CityProblem DescriptionResolution
Lehighton, PennsylvaniaOVEN BEEPS UNTILL POWER IS TURNED OFF. DOES NOT APPEAR TO BE KEYPAD AS I FOLLOWED INSTRUCTONS BY MR. SIMONSRepaired