Kenmore Electric Slide - In Range 9114652092 Timer Repair

What is the timer/clock part number for the Kenmore 9114652092 Electric Slide - In Range?

Timer part number WB27K5107 for Kenmore 9114652092

The 9114652092 Electric Slide - In Range uses timer part number WB27K5107.

Do you have a failed Kenmore 9114652092 control panel? Click here:

Request Appliance Timer Service

We can repair or replace your faulty Kenmore 9114652092 timer.

9114652092 are also sometimes referred to using these Alternative Names/Model numbers

Sears 9114652092 Electric Slide - In Range

9114652092 Schematic and Wiring Diagrams

Main top section Parts diagram
9114652092 Electric Slide - In Range Main top section Parts diagram
Optional backsplash Parts diagram
9114652092 Electric Slide - In Range Optional backsplash Parts diagram
Body section Parts diagram
9114652092 Electric Slide - In Range Body section Parts diagram
Wire harness and components Parts diagram
9114652092 Electric Slide - In Range Wire harness and components Parts diagram
Door lock section Parts diagram
9114652092 Electric Slide - In Range Door lock section Parts diagram
Optional rear main to filler Parts diagram
9114652092 Electric Slide - In Range Optional rear main to filler Parts diagram
Blower Parts diagram
9114652092 Electric Slide - In Range Blower Parts diagram
Optional vertical trim extension Parts diagram
9114652092 Electric Slide - In Range Optional vertical trim extension Parts diagram
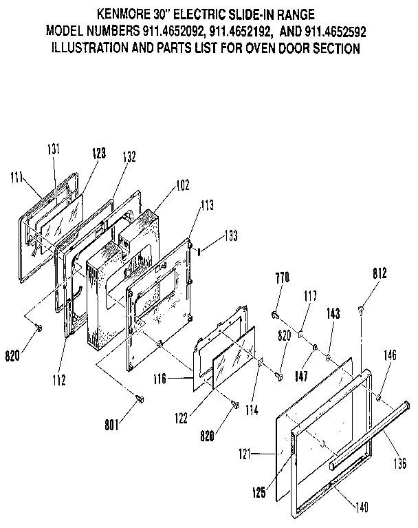
Oven door Parts diagram
9114652092 Electric Slide - In Range Oven door Parts diagram