Magic Chef Gas Range 6498VTV Timer Repair

What is the timer/clock part number for the Magic Chef 6498VTV Gas Range?

Timer part number 7601P206-60 for Magic Chef 6498VTV

The 6498VTV Gas Range uses timer part number 7601P206-60.

Do you have a failed Magic Chef 6498VTV control panel? Click here:

Request Appliance Timer Service

We can repair or replace your faulty Magic Chef 6498VTV timer.

6498VTV are also sometimes referred to using these Alternative Names/Model numbers

Maytag 6498VTV Gas Range, Whirlpool 6498VTV Gas Range

6498VTV Schematic and Wiring Diagrams

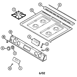
Top assembly Parts diagram
6498VTV Gas Range Top assembly Parts diagram
Body Parts diagram
6498VTV Gas Range Body Parts diagram
Oven/base Parts diagram
6498VTV Gas Range Oven/base Parts diagram
Gas controls Parts diagram
6498VTV Gas Range Gas controls Parts diagram
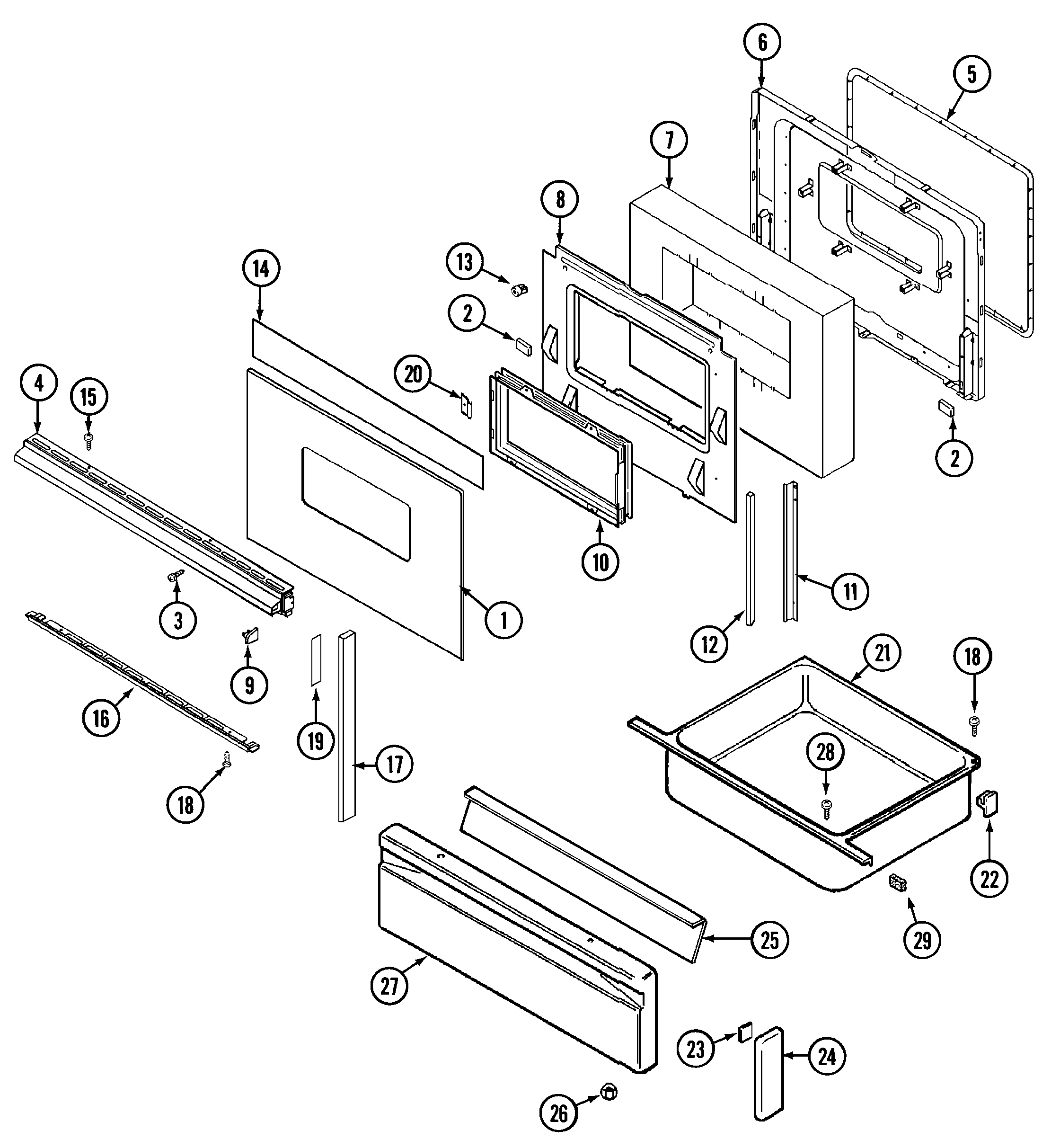
Door/drawer Parts diagram
6498VTV Gas Range Door/drawer Parts diagram

Recent Service Requests

CityProblem DescriptionResolution
Gatineau, QuebecOven temperature never exceed 250FRepaired
New Westminster, British Columbiaoven works for 30+ min but flashes F1 code. Unplugging the oven resets the issue and we can cook for another 30 or so minutes then the F1 error returns.Awaiting receipt of timer
Golden, ColoradoPeriodically get the F1 fault code displayed.Awaiting receipt of timer
Gatineau, QuébecOven does'nt work at all but the top burners work great.Awaiting receipt of timer
Delmar, New YorkOven no longer reaches set temperature (oven thermometer 165F, oven set for 375f). F1 and beeps on display after a few minutes on power. Recently replaced short temperature sensor, lower oven ignitor, and keypad -- no change. Swapped broiler ignitor with lower ignitor -- no change. Lower oven and broiler both fire up, assuming gas valve is okay. Please repair if possible.Repaired
Gales Ferry, ConnecticutControl board is not allowing power to gas valveReplaced with reconditioned timer

Common problems for Magic Chef Gas Range 6498VTV Timer Repair

Are you encountering a similar problem as them? Contact us now and we will try to help you fix your 6498VTV timer-related problem.
magic chef model # 6498vtv broiler goes bang when it lites-- what do i adjust to prevent this? Gary
I have a Magic Chef Oven, Model 6498VTV, and the burners work but the oven does not. There is no flame inside and I am unsure how to restart the oven. Your help is welcome
I have a Magic Chef oven: Oven: Magic Chef Model: 6498VTV Serial # XXXXX 541 68KM Purchased 7/15/1994 My roof leak flooded the entire kitchen, walls, counter tops, floor - all. The range started beeping F1 and it keeps coming back even after clearing the code. The insurnace company wants me to prove that the F1 was caused by the water. Is there way to prove that? I spoke to an appliance repair technician and he said that he can guess at it but can't really prove it. In order to save money, I'd like to do the legwork to "prove" it to the insurance company OR get a written letter from a company of authority to say that moisture can cause F1 problems in the ERC. For the repair, I'd like to do the replacement myself of the ERC which I've done in the past. Thus, I am looking for guidance so that I can submit a claim to the insurance company.
magic chef model 6498vtv broiler does not light
I have a Magic Chef slide-in gas oven model # XXXXX and I have been getting this beeping with an F-1 code on and off for years. In the past it's lasted a few days and then gone away for months before returning. But now it's been beeping everyday (sometimes with hours between beeps, sometimes just minutes!) for 3 weeks!! I've read that lots of people have this issue and that replacing the part is only a temporary solution as the new part goes bad within a year or so antway. My question is: can you tell me how to disconnect the speaker to silence the unit. I don't care if the clock/clock doesn't work as long as the oven still heats up. Thanks, need to sleep XXX@XXXXXX.XXX
I have an older magic chef range--model 6498VTV. At all times during the day, an alarm goes off -- "beeping" -- and the display indicates "F-1". I have no manual for this range since it came with the house when I purchased the home 5 years ago. I can only hit the "stop/clear" button and it stops. Several hours later the beeping starts again. Can you identify this problem?
what does an F12 or F-12 alarm code mean and how can i delete it , this is on a norge gas range