Magic Chef Gas Range 6498VTA Timer Repair

What is the timer/clock part number for the Magic Chef 6498VTA Gas Range?

Timer part number 7601p206-60 for Magic Chef 6498VTA

The 6498VTA Gas Range uses timer part number 7601p206-60.

Do you have a failed Magic Chef 6498VTA control panel? Click here:

Request Appliance Timer Service

We can repair or replace your faulty Magic Chef 6498VTA timer.

6498VTA are also sometimes referred to using these Alternative Names/Model numbers

Maytag 6498VTA Gas Range, Whirlpool 6498VTA Gas Range

6498VTA Schematic and Wiring Diagrams

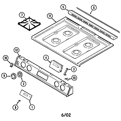
Top assembly Parts diagram
6498VTA Gas Range Top assembly Parts diagram
Body Parts diagram
6498VTA Gas Range Body Parts diagram
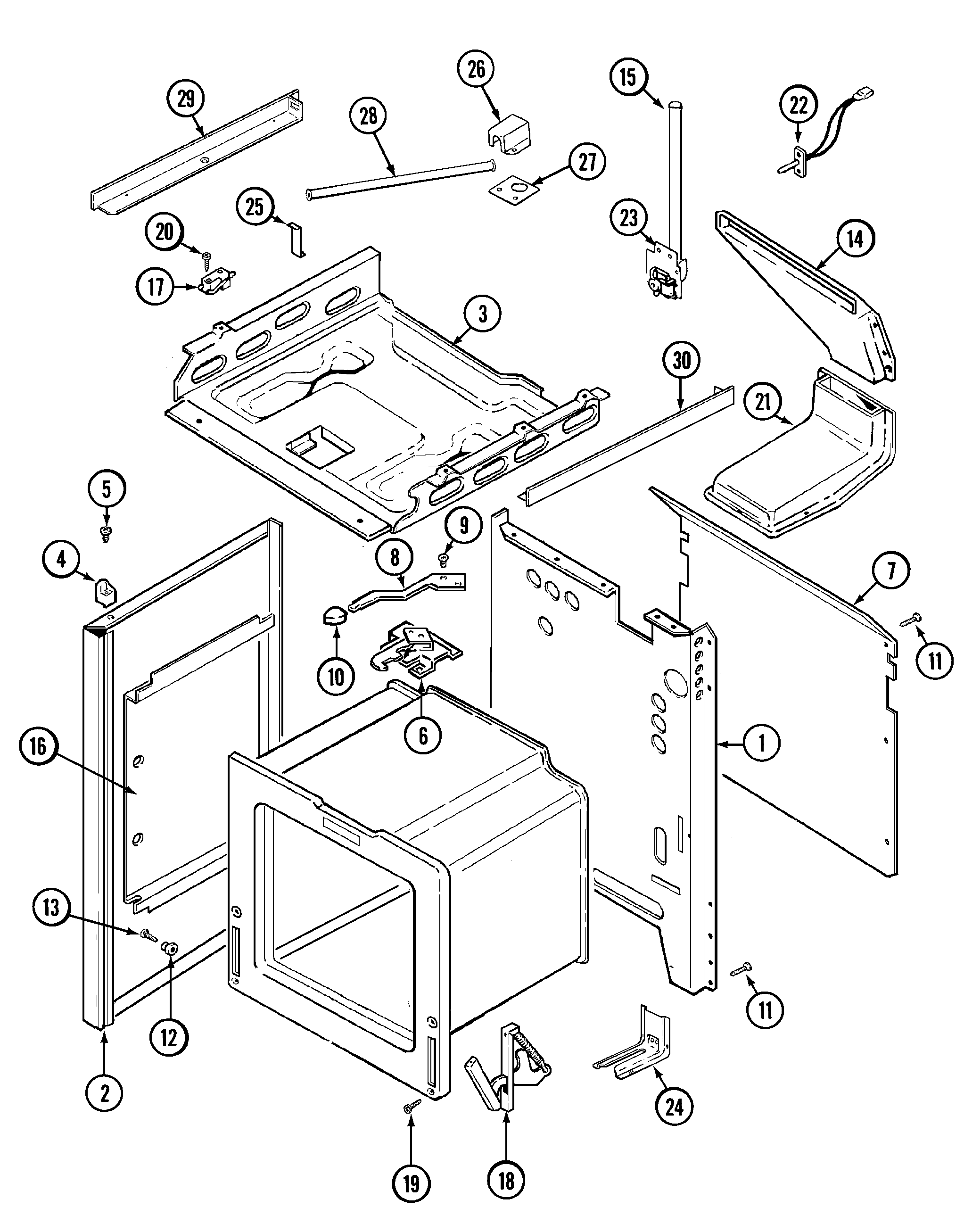
Oven/base Parts diagram
6498VTA Gas Range Oven/base Parts diagram
Gas controls Parts diagram
6498VTA Gas Range Gas controls Parts diagram
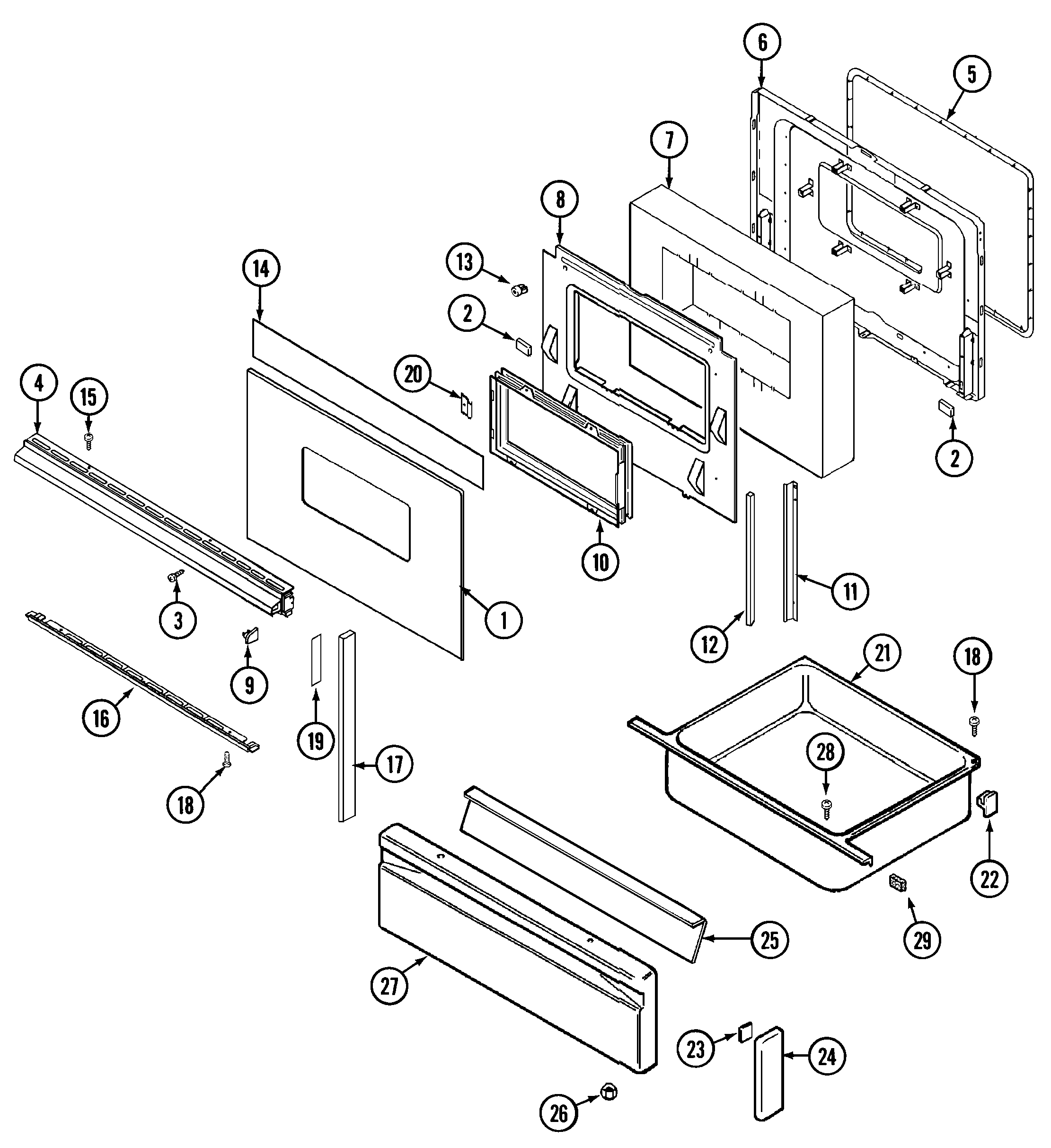
Door/drawer Parts diagram
6498VTA Gas Range Door/drawer Parts diagram

Recent Service Requests

CityProblem DescriptionResolution
Morganville, New JerseyF1 code. Gas Range continues to beep.Awaiting receipt of timer
Towaco, New JerseyThe oven does not reach the proper temperature, the sensor has been replaced and the ohms are also correct.Repaired
Grandville, Michiganwhen I set a bake temp, the "countup" starts at 240 degrees and lights the burner, but in short order it counts up to the set temp, but the actual temp on my oven thermometer barely exceeds 100 degrees before the burner shuts down.Repaired

Common problems for Magic Chef Gas Range 6498VTA Timer Repair

Are you encountering a similar problem as them? Contact us now and we will try to help you fix your 6498VTA timer-related problem.
This is a Dacor double oven (top convection) we bought in 1995. Straight and to the point: Oven turns off during preheating, beeps inconsistently and shows error codes F0 and F1. Had a technician come by and say the ERC is bad and needed to be changed. I bought a new ERC and installed it and am still having the same problem. Per Dacor Owners's Manual: F0 - Touchpad being stuck in a depressed position F1 - Element relay circuit failure I don't think it is the touchpad, since there is a new ERC, but does the F1 mean that one of the relay boards is bad and needs replacing? and if so, how can I test it to make sure or to find out which one needs replacing? Or, could the ERC be defective.
1994 Magic Chef 6498VTA oven temp 175 degrees below setpoint as indicated by oven thermometer touchpad digitally indicates that temp is rising normally until desired setpoint is reached, then beeps to indicate such, no fault codes or other issues at hand oven temp sensor ohms out at 1143 ohms @ 80 degrees I believe touchpad to be defective, but would apprecite your professional advice unit is in immaculate condition, touchpad has been replaced 3 times previously because it would beep at various times throughout the day/night when oven not in use and no fault codes displayed, each time the unit worked properly until again failed
For the 9th time since the 1994 installation, my Magic Chef oven requires a new membrane switch. This has been happening every 15-24 months, the last time in 2010. I have the part. I replaced it myself the last three times, but would like a reminder of how to disengage and re-attach the power ribbon. It isn't obvious once the old switch panel is pealed off, and after 2 years I don't remember the details. Would you mind walking me through it? Thanks. By the way, we've spent enough on these switch membranes to buy a new oven. I'm disappointed in this product.
I have a magic chef oven,model # XXXXX I set the oven temp. for 400 and it only heats to 150 before shutting off. The key pad shows 400 degrees. Any ideas?
Beeper sound & F1 shows on display. Push start & it stops for a short time. Model 6498VTA.
just bought a used magic chef gas range that was using natural gas. need to change to propane. with this model number #6498VTA, serialNNN-NN-NNNND, how many things do I need to change out and where are they located. i have no paperwork on this unit. thanks