Magic Chef 34MN3TKXWON Timer Repair

What is the timer/clock part number for the Magic Chef 34MN3TKXWON Range?

Timer part number 7601P181-60 for Magic Chef 34MN3TKXWON

The 34MN3TKXWON Range uses timer part number 7601P181-60.

Do you have a failed Magic Chef 34MN3TKXWON control panel? Click here:

Request Appliance Timer Service

We can repair or replace your faulty Magic Chef 34MN3TKXWON timer.

34MN3TKXWON are also sometimes referred to using these Alternative Names/Model numbers

Maytag 34MN3TKXWON Range, Whirlpool 34MN3TKXWON Range

34MN3TKXWON Schematic and Wiring Diagrams

Control panel Parts diagram
34MN3TKXWON Range Control panel Parts diagram
Top assembly/control panel/manifold Parts diagram
34MN3TKXWON Range Top assembly/control panel/manifold Parts diagram
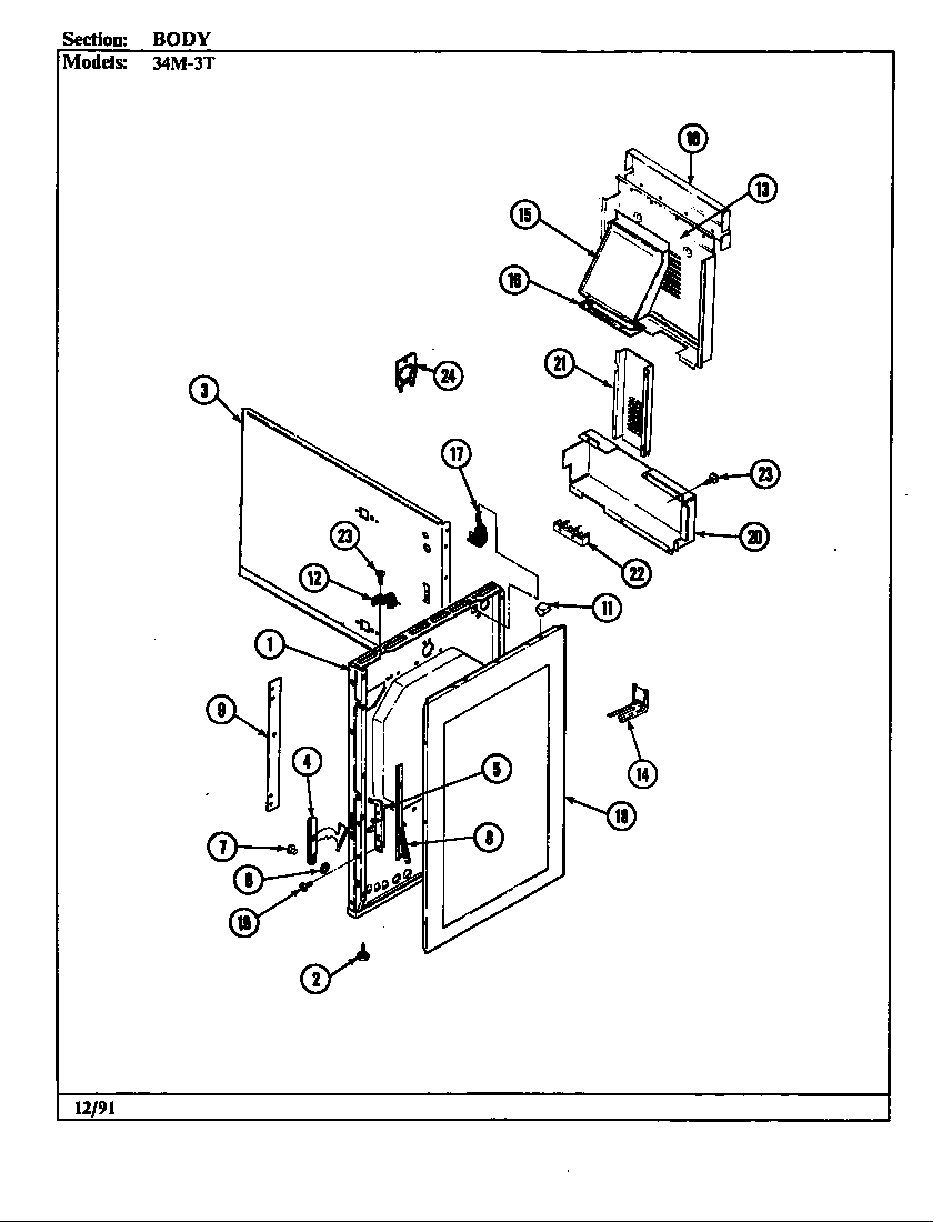
Body Parts diagram
34MN3TKXWON Range Body Parts diagram
Internal controls Parts diagram
34MN3TKXWON Range Internal controls Parts diagram
Oven Parts diagram
34MN3TKXWON Range Oven Parts diagram
Gas controls Parts diagram
34MN3TKXWON Range Gas controls Parts diagram
Door Parts diagram
34MN3TKXWON Range Door Parts diagram
Access drawer Parts diagram
34MN3TKXWON Range Access drawer Parts diagram